Toggle navigation
Каталог Land Rover
Запчасти
Масла
Диагностика
Сервис
063 781 33 77
Поиск
Land Rover Freelander 1 (L314)
каталог запчастей и аксессуаров
Land Rover
Jaguar
Ford
MG Rover
1996-2006 Freelander 1 (L314)
ДВИГАТЕЛЬ
2500 - V6 БЕНЗИН
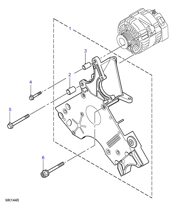
ALTERNATOR BRACKETS
PNC
Название
с
по
Q
RRP
Номер
1
BRACKET ALTERNATOR/ СИСТЕМА КОНДИЦИОНИРОВАНИЯ
1
€ 497
YLU102990L
2
ВТУЛКА 11MM
1
€ 3
YKP100140L
3
ВТУЛКА 9MM
1
€ 2
YKP100150L
4
БОЛТ ФЛАНЦЕВАЯ ГОЛОВКА M8*45
1
€ 1
FB108091L
5
BOLT-FLANGED HEAD M10*100
1
€ 3
FB110201L
6
БОЛТ
2
€ 7
PQM100110L
Показать устаревшие
Скрыть устаревшие
Tip:
use
←
and
→
to navigate between pages.