| PNC | Название | с | по | Q | RRP | Номер |
|---|---|---|---|---|---|---|
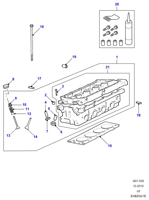
| CYLINDER HEAD В СБОРЕ -ENGINE LESS AUTO TENSIONING | 1 | LDF108500L ↳LDF109380L | ||||
| CYLINDER HEAD В СБОРЕ -ENGINE NEW ПЕРЕД ОФОРМЛЕНИЕМ ЗАКАЗА УТОЧНИТЕ ВЕРСИЮ ДЛЯ СЕРВИСНОЙ ЗАМЕНЫ AUTO TENSIONING | 1 | LDF109380L | ||||
| CYLINDER HEAD В СБОРЕ -ENGINE, ОБОРОТНАЯ ДЕТАЛЬ, AUTO TENSIONING | 1 | LR006049 | ||||
| DOWEL-RING LESS AUTO TENSIONING | 2 | LYU100290L | ||||
| BOLT-FLANGED HEAD 6*30MM LESS AUTO TENSIONING | 26 | LDN10018L | ||||
| GUIDE-CYLINDER HEAD VALVE ПРОСТОЙ СТАНДАРТНЫЙ | 16 | LGJ10034L | ||||
| GUIDE-CYLINDER HEAD VALVE GROOVED AND STEPPED SALVAGE | 16 | LGJ10033L | ||||
| INSERT-INLET/EXHAUST VALVE SEAT-CYLINDER HEAD STEPPED CHAMFER | 8 | LGK101160L | ||||
| INSERT-CYLINDER HEAD EXHAUST VALVE SEAT STEPPED CHAMFER | 8 | LGK101170L | ||||
| TAPPET-ENGINE VALVE HYDRAULIC | 16 | LGR100100L ↳LGR000050L | ||||
| TAPPET-ENGINE VALVE HYDRAULIC | 16 | LGR000050L | ||||
| COLLET-CYLINDER HEAD VALVE | 32 | LGN10004L | ||||
| КОЛПАЧЁК - CYLINDER HEAD VALVE SPRING | 16 | UAM3797L | ||||
| КОЛПАЧЁК - CYLINDER HEAD VALVE SPRING | 16 | LJC000030 ↳UAM3797L | ||||
| SPRING-CYLINDER HEAD VALVE | 16 | LGL10008L | ||||
| SEAL-CYLINDER HEAD VALVE STEM OIL | 16 | LUB100350L | ||||
| VALVE-CYLINDER HEAD INLET | 8 | LGH10029L | ||||
| VALVE-CYLINDER HEAD EXHAUST | 8 | LGH101190L | ||||
| ПРОКЛАДКА - CYLINDER HEAD | 1 | LVB100760 ↳LVB000320L | ||||
| ПРОКЛАДКА - CYLINDER HEAD | 1 | LVB000320L ↳LVB500180 | ||||
| ПРОКЛАДКА - CYLINDER HEAD | 1 | LVB500180 ↳LVB500181 | ||||
| ПРОКЛАДКА - CYLINDER HEAD | 1 | LVB500181 ↳LCN000140L | ||||
| ПРОКЛАДКА - CYLINDER HEAD | 1 | LVB500190 | ||||
| BOLT-CYLINDER HEAD FIXING | 10 | WAM2293L | ||||
| ШПИЛЬКА | 3 | TE108065L | ||||
| ШПИЛЬКА | 8 | TE108065ML | ||||
| ШПИЛЬКА | 5 | LYR10031L ↳LYR000020L | ||||
| ШПИЛЬКА | 5 | LYR000020L ↳LYR000021L | ||||
| ШПИЛЬКА | 5 | LYR000021L | ||||
| ШТИФТ | 2 | LYU000010L | ||||
| КОМПЛЕКТ SPLIT | 0 | LZB000030L | ||||
| CYLINDER HEAD В СБОРЕ -ENGINE NEW ПЕРЕД ОФОРМЛЕНИЕМ ЗАКАЗА УТОЧНИТЕ ВЕРСИЮ ДЛЯ СЕРВИСНОЙ ЗАМЕНЫ AUTO TENSIONING | 1 | LDF109390L |