| PNC | Название | с | по | Q | RRP | Номер |
|---|---|---|---|---|---|---|
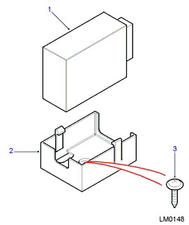
| CONTROL UNIT DOOR MIRROR ELECTRIC PARK MIRROR HEAD (POWERFOLD) | 1 | YWC106610 | ||||
| CONTROL UNIT DOOR MIRROR ELECTRIC PARK MIRROR HEAD (POWERFOLD) | 1 | YWC106612 ↳YWC001020 | ||||
| КРОНШТЕЙН - ELECTRIC CONTROL UNIT ELECTRIC PARK MIRROR HEAD (POWERFOLD) | 1 | YWU000020 ↳YWU000050 | ||||
| КРОНШТЕЙН - ELECTRIC CONTROL UNIT ELECTRIC PARK MIRROR HEAD (POWERFOLD) | 1 | YWU000050 | ||||
| ВИНТ - POLYMATE 8*13MM ELECTRIC PARK MIRROR HEAD (POWERFOLD) | 2 | BTR8283 |