| PNC | Название | с | по | Q | RRP | Номер |
|---|---|---|---|---|---|---|
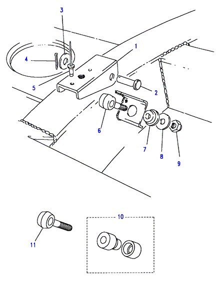
| КРОНШТЕЙН - REAR SEAT BELT LOWER ANCHORAGE | 2 | 390774 | ||||
| PIN-CLEVIS | 2 | 577259 | ||||
| WASHER-PLAIN | 2 | RTC611 | ||||
| PIN-SPLIT | 2 | RTC601 | ||||
| ЗАКЛЕПКА '3/16"*0.575"LNG' | 4 | RU612373L | ||||
| TIE ROD | 2 | 595099 ↳BTR8341 | ||||
| УПЛОТНИТЕЛЬНАЯ ВТУЛКА | 2 | 577255 | ||||
| ШАЙБА | 2 | 577254 | ||||
| ШЕСТИГРАННАЯ ГАЙКА NYLOC 7/16UNF | 2 | NY607041L | ||||
| KIT-EYE BOLTS & BUSHES | 2 | STC1393 | ||||
| ROD-REAR SEAT BELT TIE | 2 | BTR8341 ↳AWR2977 | ||||
| ROD-REAR SEAT BELT TIE | 2 | AWR2977 |