| PNC | Название | с | по | Q | RRP | Номер |
|---|---|---|---|---|---|---|
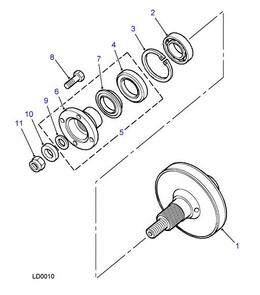
| VISCOUS COUPLING UNIT-TRANSFER BOX | 1 | RTC6044 | ||||
| BEARING-BALL ЗАДНИЙ | 1 | RTC6025 | ||||
| СТОПОРНОЕ КОЛЬЦО БОЛЬШОЙ | 1 | 216962 | ||||
| SEAL-TRANSFER BOX OUTPUT | 1 | FRC7043 ↳FTC4939 | ||||
| SEAL-TRANSFER BOX OUTPUT | 1 | FTC4939 | ||||
| SEAL KIT-OUTPUT SHAFT ПЕРЕДНИЙ | 1 | STC4380 | ||||
| FLANGE В СБОРЕ -FRONT OUTPUT | 1 | RTC6059 ↳FTC4939 | ||||
| FLANGE В СБОРЕ -FRONT OUTPUT | 1 | STC3897 | ||||
| MUDSHIELD-TRANSFER BOX OIL SEAL ЗАДНИЙ | 1 | 571970 | ||||
| MUDSHIELD-TRANSFER BOX OIL SEAL ЗАДНИЙ | 1 | 571970 | ||||
| БОЛТ 3/8UNC*1 1/4 | 4 | BT606101L ↳BT606106 | ||||
| SEAL-TRANSFER BOX OUTPUT FLANGE SPLINE | 1 | RTC6363 | ||||
| ШАЙБА | 1 | 571468 ↳PYF500010 | ||||
| ШЕСТИГРАННАЯ ГАЙКА M12 ШЕСТИГРАННАЯ ГОЛОВКА NYLOC | 1 | NY112041L ↳FY112046 |