| PNC | Название | с | по | Q | RRP | Номер |
|---|---|---|---|---|---|---|
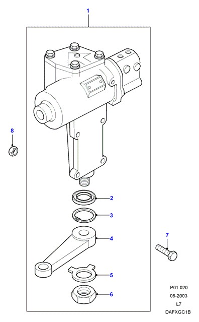
| BOX В СБОРЕ -STEERING NEW; ПРАВЫЙ РУЛЬ, WITH POWER STEERING | 1 | ANR3242 ↳ANR5320 | ||||
| BOX В СБОРЕ -STEERING, ОБОРОТНАЯ ДЕТАЛЬ; ПРАВЫЙ РУЛЬ | 1 | ANR3242E | ||||
| BOX В СБОРЕ -STEERING NEW ПЕРЕД ОФОРМЛЕНИЕМ ЗАКАЗА УТОЧНИТЕ ВЕРСИЮ ДЛЯ СЕРВИСНОЙ ЗАМЕНЫ; ПРАВЫЙ РУЛЬ | 1 | ANR5320 | ||||
| BOX В СБОРЕ -STEERING, ОБОРОТНАЯ ДЕТАЛЬ; ПРАВЫЙ РУЛЬ | 1 | ANR5320E | ||||
| BOX В СБОРЕ -STEERING NEW; ЛЕВЫЙ РУЛЬ, WITH POWER STEERING | 1 | ANR3241 ↳ANR5321 | ||||
| BOX В СБОРЕ -STEERING, ОБОРОТНАЯ ДЕТАЛЬ; ЛЕВЫЙ РУЛЬ | 1 | ANR3241E | ||||
| BOX В СБОРЕ -STEERING NEW ПЕРЕД ОФОРМЛЕНИЕМ ЗАКАЗА УТОЧНИТЕ ВЕРСИЮ ДЛЯ СЕРВИСНОЙ ЗАМЕНЫ; ЛЕВЫЙ РУЛЬ, WITH POWER STEERING | 1 | ANR5321 | ||||
| BOX В СБОРЕ -STEERING, ОБОРОТНАЯ ДЕТАЛЬ; ЛЕВЫЙ РУЛЬ | 1 | ANR5321E | ||||
| САЛЬНИК; ПРАВЫЙ РУЛЬ, WITH POWER STEERING | 1 | STC3575 | ||||
| СТОПОРНОЕ КОЛЬЦО; ПРАВЫЙ РУЛЬ, WITH POWER STEERING | 1 | STC3574 | ||||
| LEVER-DROP ARM STEERING; ПРАВЫЙ РУЛЬ, WITH POWER STEERING | 1 | ANR4382 | ||||
| WASHER-STEERING BOX DROP ARM NUT TAB; ПРАВЫЙ РУЛЬ, WITH POWER STEERING | 1 | ANR1184 | ||||
| ШЕСТИГРАННАЯ ГАЙКА; ПРАВЫЙ РУЛЬ, WITH POWER STEERING | 1 | ANR1341 | ||||
| BOLT-FLANGED HEAD M12*130; WITH POWER STEERING | 4 | ANR1190 ↳BH112261L | ||||
| КОНТРГАЙКА M12; WITH POWER STEERING | 4 | ANR1000 |